它来了它来了
又到CQ社区版更新时间啦!让新版本2.12.3陪大家开启这个夏天吧~
本次版本,我们针对任务中心、访问申请、数据变更三大模块做了改版,同时增加多个新功能点!赶紧看看~
ps:结尾有新的社区预告,要看到最后奥~
「任务中心」全新改版
任务中心入口调整
原来「任务中心」隶属于「个人」模块,但在实际操作过程中,产生任务的模块多在数据操作。因此,本次更新,我们在「数据操作」模块左侧增加了「任务中心」入口,可以切换数据源和任务。
对原任务类型的功能优化
在「任务中心」主页面,我们根据不同的任务类型分成tab展示,同时以列表的形式来展示任务信息。
新版本中,任务中心将包含导出、文本导入、批量执行和同步数据字典四大类。
导出模块
在导出模块,增加了列表字段导出资源选项和导出状态。同时可查看查看具体的导出任务信息,支持导出文件再下载。
文本导入
原先版本中,在创建完文本导入任务后,导入成功即成功、失败即失败,界面上不会呈现文本导入状态。本次版本,增加了导入状态记录,在任务信息中可查看详细的导入任务信息、导入文件、导入配置以及导入时的映射关系。
批量执行
在过去版本中,我们新建批量执行需要先从SDT树连接层级点击右键进入批量执行任务中心,再进行新建批量任务。本次更新,新建批量任务页面以侧拉弹框形式出现,在连接层级右键点击「新建批量任务」就能进入。在此完成批量任务创建后,可到任务中心查看。
在批量执行的任务tab中,我们将原来的卡片形式调整为列表形式,更便于大家查看。同时,新增了删除操作,支持查看任务详情和任务信息,并在任务信息中增加了任务类型。
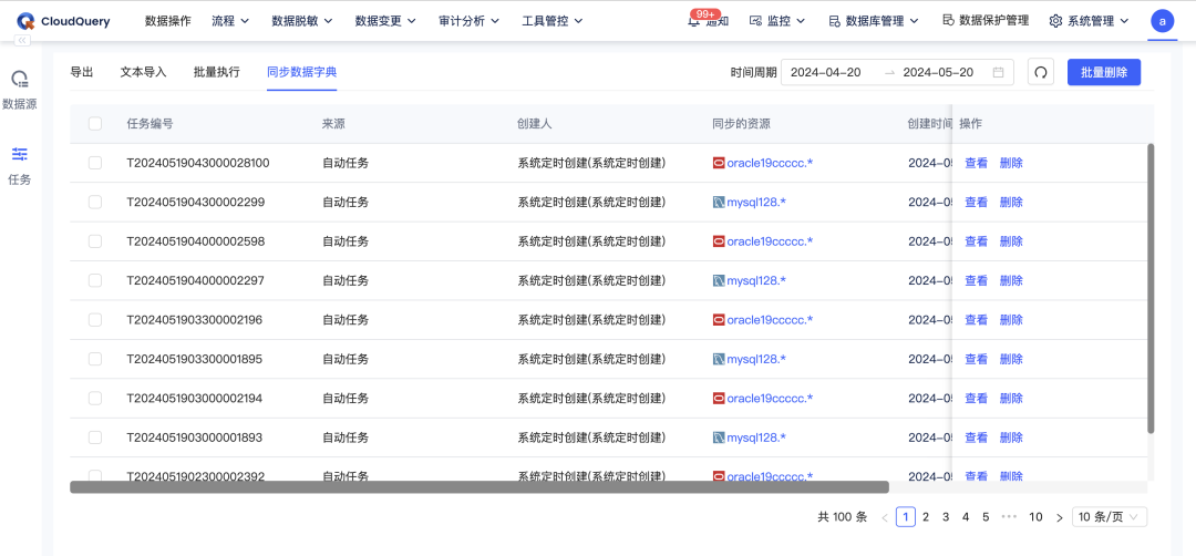
新增「同步数据字典」
目前,同步数据字典有三种方式:
自动同步:根据配置文件中配置的时间自动同步
资源开启时同步:连接管理-资源管理中开启资源时自动同步
手动同步:数据操作模块SDT右键菜单-同步数据字典
不管通过什么方式同步数据字典,在过去版本中,都无法从界面上查看同步结果以及同步进度。因此在本次版本更新中,我们在任务中心增加了「同步数据字典」的任务类型。通过以上三种任意方式出发的同步数据字典任务,都会记录在任务中心中。
同步数据字典任务主界面以列表方式展示每一次的任务信息,包括任务编号、来源(自动同步、开启资源时同步、手动同步)、创建人(自动任务创建人为 【系统定时创建】)、同步的资源、创建时间、状态,同时增加查看和删除操作。
流程中访问申请改造,支持所有层级的权限申请、批量提权
众所周知,目前CQ系统的权限体系将权限划分成了粗粒度和细粒度。粗粒度即在schema层级以上层级的权限,细粒度权限就是具体的数据库对象权限。
在我们的授权体系中,一个入口就能同时完成粗粒度授权和细粒度授权,能够直观地查看具体对象上的授权详情。但在提权体系中,目前粗粒度提权与细粒度提权并未完成入口统一,粗粒度提权在访问申请中进行,细粒度授权则在数据操作模块进行。
考虑到使用便捷性,本次更新,我们对访问申请进行了改造优化,用户可在访问申请中,同时实现粗粒度提权和细粒度提权。
👇🏻 更新后的访问申请流程 👇🏻
数据变更流程优化,工单详情UI优化
本次更新,在数据变更模块对整体UI进行了优化调整。
申请变更页面,之前的界面是整个页面下滑滚动。本次版本中,我们按步骤对界面进行了划分。
在工单详情页上,我们也做了UI优化,底部申请按钮成悬浮状态,避免原先因业务数据过多而需要页面下滑才能进行操作。同时,在详情页中增加了sql脚本下载的功能。
脱敏扫描支持在数据库层、连接层创建扫描任务
在数据保护-脱敏扫描模块,过往版本CQ支持在表层级或schema层级新建扫描任务。本次更新,我们将次功能拓展至数据库层级和连接层级。因此新版本中,大家在“连接-数据库-schema-数据库对象组-数据库对象”每一层级都可建立扫描任务。
此外,针对扫描结果,我们的搜索功能支持按表名进行检索。
新增用户时的默认角色支持自定义
在用户管理-新增用户时,系统角色不填的情况下默认是普通用户,但随着自定义角色的开发,内置角色中选定默认角色很多时候已无法满足大家的业务需求。有不少用户提出建议默认角色可进行自定义。
本次更新,我们就开放默认角色的自定义权限。大家可通过“用户参数管理-系统角色-更改默认值”进行修改。
同时,在组织架构页面,我们对检索功能进行了优化,新版本中,CQ支持通过部门、用户名、id以及公司名称进行检索。
其他一些新增功能
数据字典新增支持DB2、MongoDB数据源
规则管理新增OracleCDB数据源模板
系统设置-访问设置检索功能支持按来源检索
权限看板新增按资源进行模糊检索
数据备份新增支持多表变更的备份
本次更新的其他优化
数据操作SDT后端检索过滤无权限连接
Oracle数据源LSP优化,提示时能准确到此字段是什么对象类型
系统设置-访问设置增减按来源进行检索
连接管理中增加创建连接时间字段
连接管理连接名称字段支持自定义宽度
个人中心中执行历史明细看齐审计
Bugfix
修复SQLServer数据变更执行.sql附件异常的问题
修复通过UI创建表置字段默认值又删掉,生成的SQL不会自动删除default标识的问题
修复高危资源走数据订正创建的申请,审批人不是自定义流程中指定的人的问题
修复数据订正流程在通知里有,在我的审批中没有的问题
优化了获取“高危操作设置”的操作类型列表响应慢(10秒)的情况
修复了主体授权-授权时资源选择表组报“请求参数格式不符”的问题
修复了主体授权-授权时选择表组、视图组、函数组等数据库对象组时数据显示问题
新版本下载
下载地址:https://www.cloudquery.club/download
帮助文档:https://bintools.yuque.com/org-wiki-bintools-xniowl/do4ums
用户反馈
工单入口:https://www.cloudquery.club/login
特别鸣谢
感谢社区秦钰杰、江伟帆、付林、Samg、52Hz、Mr.W、都市小木屋、龙斌、MOOSEFS、名字为NULL、woken同学的反馈!CloudQuery 仍在成长,我们珍视每位用户的使用体验,鼓励各位多提问题与建议,一起参与 CloudQuery 的建设!
还记得我们社区的另一款产品DpEasy吗?
DpEasy社区版在经过半年产品改造后,“华丽变身”数据库特权账号管理平台(database privilege easy),即将发布v1.4.0全新社区版本!
下周我们将在社区发出新版本功能预告,敬请期待~

如果有更多你想要的功能/待优化的体验,欢迎评论区讨论~ 抽取3位同学送出我们的社区周边🌹
